再談壓力表對壓機不同故障的反應
對六面頂壓機新舊液壓系統進行了對比,并剖析了壓力表對壓機不同故障的反應。
1.前言
筆者曾在文獻中剖析過壓力表對壓機不 同故障的反應,其剖析是針對當時現有的液壓系 統而作的。事隔多年又有許多新的液壓技術應 用于現在的大腔體壓機中,由此也使液壓系統陡 增一些新的故障特征及其變化。即便如此,作為 壓機各工作缸壓力變化的顯示者——壓力表仍 然是反映其故障特征變化的“晴雨表”,并對揭示 系統中各故障的產生起著重要的參考作用。今 天重提壓力表的作用,進而重視對壓力表的應用 仍然是減少故障查詢時間、提高工作效率的有效 途徑。
2.新舊液壓系統的對比
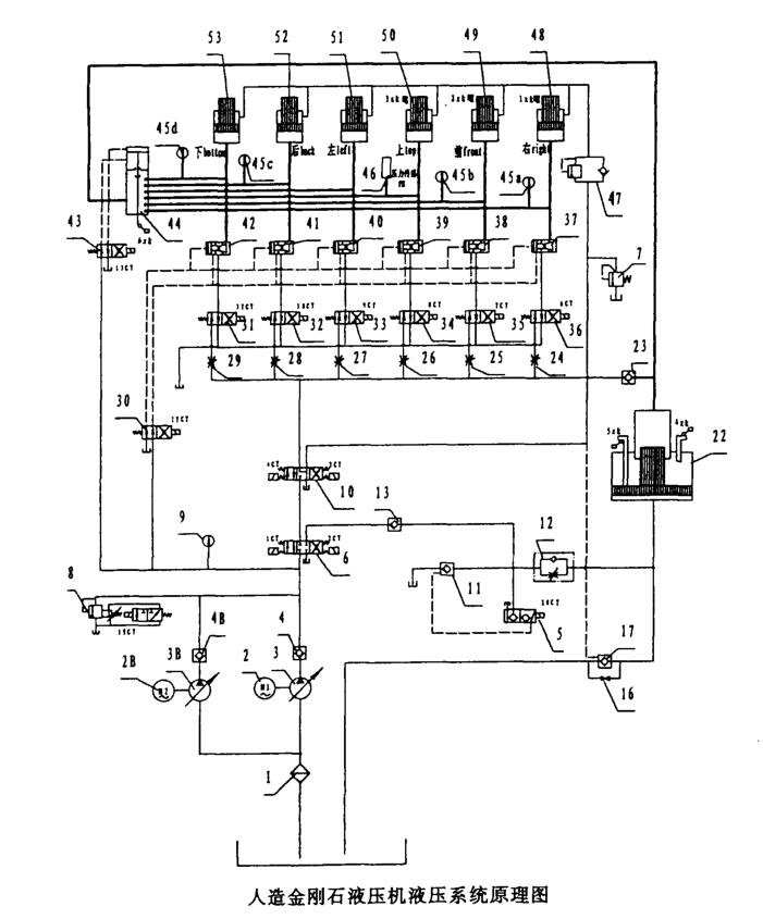
以桂林冶金機械總廠生產的CS — VI型六 面頂人造金剛石液壓機為例,如圖為其液壓系統 原理圖。與舊的液壓系統相比,新的液壓系統有 如下變化:(1)以016通徑的電液換向閥6、10 取代原010通徑的電磁閥,以滿足系統大流量 的需要;(2)以不開泵的無動力卸壓(液控單向閥 11及電磁球閥5)取代開泵的有動力卸壓;(3)為 防止上缸活塞因自重落下,在回程油路上設置平 衡閥47;(4)為減小回程壓力,在回程油路上設 置二級溢流閥7。無論新舊液壓系統,系統壓力 表及超高壓壓力表仍設置在原位置,對不同階段 的壓力仍起顯示作用。
新的液壓系統既能涵蓋舊的液壓系統,又可 看作舊液壓系統的升級。舊液壓系統中出現的 故障在新的液壓系統中同樣存在,依據壓力表對 其故障做出判斷方法在文獻[1]中已有贅述,這 里不再重復。而新的液壓系統在新的條件下又 可能出現以下新的故障現象,依據壓力表同樣能 把不同故障剔別出,以下逐一舉例。

3.故障現象
(1)調整系統壓力時,系統壓力表9不穩定, 其指針往復擺動。
分析:正常情況下,在調整系統壓力時,若系 統無泄漏則其系統壓力表9指針應穩定在所調定的壓力值上。若其指針來回振擺,則暗示著系 統可能存在以下故障:
①油泵的吸油管進氣
由于吸油管的進氣,使得油泵3或油泵3B 吸油腔內既壓縮油液又壓縮空氣,其輸出壓力也 因空氣的存在而變得極不穩定,進而壓力表9指 針劇烈振擺,嚴重時局部產生液壓沖擊致使油泵 噪聲異常。此時唯有檢查油泵至油箱間的吸油 管接頭是否擰緊或接頭內是否裝有密封圈,甚至 吸油管接頭焊縫是否虛焊,這樣才能將此故障排
除。
②溢流閥8內螺堵密封圈損壞 由于螺堵密封圈損壞,部分壓力油自此泄漏 造成壓力波動,反映到系統壓力表9上就是指針 來回偏擺。此時應檢查螺堵密封圈損壞情況并 將其更換,這樣方可消除此故障.
(2)系統壓力表9達到一定值后,無論怎樣調溢流閥8,系統壓力表9壓力值不變。
分析:如圖中,溢流閥8及溢流閩7在回程油路中組成多級調壓回路。在快速回程工步中,系統壓力由溢流閥8調定,此溢流閥應為高 壓。而在空程前進工步中,活塞前進油壓由溢 流閥7調定,此溢流閥應為低壓。若溢流閥7 壓力大于溢流閥8壓力,則無論怎樣調溢流閥 8,壓力表9指針將無反應。此時應檢查溢流閥 8的調定壓力是否比溢流閥1的調定壓力低, 這是系統正確調壓的先決條件。
(3)充液轉超壓工步時,高壓表(45a?45d) 無反應或停頓一定時間才有壓力反應。
分析:在快速回程工步中,油路的走向為: 油泵3、3B-單向閥換向閥4、4B-電解液換向閥p個工作缸其中平衡閥47是專為防止上缸因自重落 下而設置的,主要是設置一定的壓力作為各活 塞的前進阻力,使得該阻力大于上缸活塞的重 力進而得以托住活塞下墜。但若當該閥所調定 的壓力大于液控單向閥I7的開啟壓力(0. 04MPa)時,系統就會出現以下情形;在充液轉 超壓時,壓力油從油泵3、3B,單向閥4、4B,電 液換向閥6再經單向閥13、單向節流閥12進 入增壓器22下腔。但在上一工作循環中,由于 平衡閥47的調定壓力大于液控單向閥17的開 啟壓力,在快速回程工步結束、電液換向閥10 閥芯回位瞬間,自該閥到平衡閥47間的壓力油 因未能打開平衡閥47而全部進人控制油路打 開液控單向閥17。這樣當充液結束轉至超壓 時,來自油泵的液壓油自電液換向閥6,通過單 向閥13、單向節流閥12進入增壓器22下腔的 同時也進入液控單向閥17。當平衡閥47與液 控單向閥17間壓力差較小也就是液控單向閥 17開口較小時,進入增壓器22下腔的壓力油 經過一定的時間積累,形成一定的壓力推動液 控單向閥17閥芯關閉;當平衡閥47與液控單 向閥17間壓力差較大時,液控單向閥17處于 常開狀態,進人增壓器22下腔的壓力油自此回 油箱,使得系統壓力為零。這就是我們在壓力 表(45a?45d)上所能見到的在充液轉超壓時, 壓力表指針經過一定時間才上升甚至無反應。 解決此故障唯有將平衡閥47的調定壓力調小 于液控單向閥17的開啟壓力才能使液壓系統 運行正常。
(4)卸壓時所有高壓表(45a?45d)無反應 在新的液壓系統中,增壓器卸壓是以不開 泵方式進行的,即無動力卸壓。此時油路的走 向是增壓器22下腔——單向節流閥12——液 控單向閥11——油箱。實際上無論是新舊液 壓系統,其所有電液換向閥、電磁換向閥或超高 壓液控單向閥的回油路都是共用同一根回油 路。若該總回油管過細、油管彎曲半徑過小或 總回油管所接的回油過濾器里濾油網過細,油 液將在增壓器卸壓時由于上述原因而產生液 阻。所產生的液阻力將返回系統,通過二位四 通電磁閥43作用于二位七閥芯通閥44的閥 芯,并推動閥芯將二位七通閥關閉,切斷六個高 壓缸(48?53)與增壓器22間的連通,這樣六個 高壓缸(48?53)內油液壓力因無法隨增壓器 22的下降而卸壓,高壓表也就無法反映油壓的 下降。選擇內徑較大的油管作回油管,其彎曲 半徑要大或者取消回油過濾器均為解決此故障 的主要途徑。
4.結論
壓力表也如同人的掌紋一樣,對壓機液壓 系統內的變化有著規律性的反應。若能透過這 些表面現象,抓住其規律性的反應進而對故障 做出正確的判斷,將會節省許多無謂的時間,達 到事半功倍的效果。因此,依據壓力表對故障 做出判斷的方法應引起足夠的重視并在實踐中 加以應用。
上一篇:關于壓力表安裝問題分析
下一篇:淺談壓力表的游絲安裝、拆卸及調修


